• Blacha stalowa formatka g/w 2x250x250 mm

Symbol: 12569431487
14.94
14.94
szt. Do przechowalni
Opinie
Wysyłka w ciągu 3 dni
Cena przesyłki 12
Odbiór osobisty 0
Paczkomaty InPost 12
Kurier GLS 25
Kurier GLS pobranie 30
Dostępność Duża dostępność

Zamówienie telefoniczne: 666861173

Zostaw telefon
image

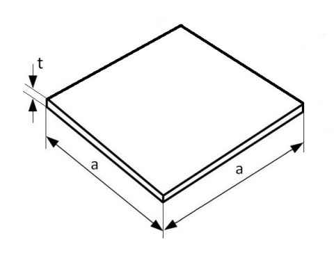
Opis przedmiotu:

  • Nazwa: Blacha stalowa gorącowalcowana
  • Ilość sprzedawana: 1 szt.
  • Rozmiar: 2 x 250 x 250 mm
  • Materiał: stal

Parametry techniczne:

  • a = 250 mm
  • t =  2 mm
image
Materiał:
stal
Długość:
25
Grubość ścianki:
2
Szerokość produktu:
25 (2)
Rodzaj:
inny
Nie ma jeszcze komentarzy ani ocen dla tego produktu.
  • Oceń

Jakość
Funkcjonalność
Cena
Podpis
Opinia